公司簡介
? ? 杭州漢派模具科技有限公司成立于2012年,是浙江省模具工業協會理事單位。我們專業研發和生產飼料顆粒環模、生物質顆粒環模、有機肥顆粒等制粒機配件環模,貓砂顆粒環模,壓輥等。為世界提供零缺陷制粒機模具是我們的發展目標。
? ? 2017年我公司榮獲杭州市高新技術企業,并通過浙江省科技型企業認定。2018年,公司名稱由杭州漢派模具有限公司變更為杭州漢派模具科技有限公司,是SGS認證的供應商,現已通過ISO 9001質量管理體系認證。
? ? 漢派模具采用優質4Cr13不銹鋼,數控深孔鉆床,真空淬火爐等先進設備和獨特工藝;同時我們擁有一批高水平的技術人員和嚴格的生產質量控制體系,造就了漢派模具卓越的品質和良好的客戶口碑。漢派模具可以使生產效率提高10-40%,生產成本降低10% -40%
工廠介紹
? ? “HAPPY MOULD”是我們的商標,使用Happy Mold可以使客戶節省大量的生產成本,增加利潤和市場競爭力,因為它生產順利,顆粒質量好,生產效率高,功耗低,操作方便。它也可以減輕工人的勞動強度,為每個人帶來快樂。
? ? 漢派模具贏得了國內外客戶的廣泛贊譽,期待為全球顆粒生產企業提供優良、零缺陷的模具。
產品詳情
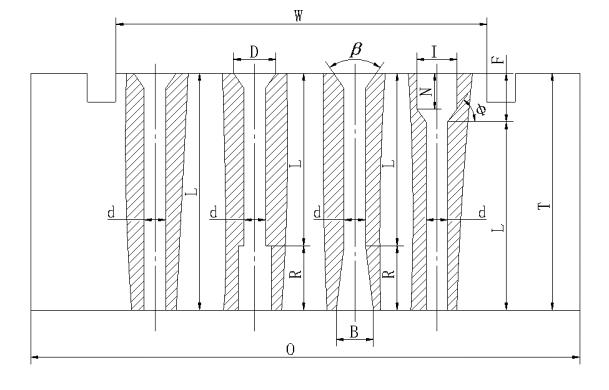
圖中ID——環模內徑;
O——環??倢挾?;
W——環模有效寬度(工作面寬度);
d——環??讖剑▔和杩讖剑?;
L——??子行чL度;
T——環??偤穸?;
D——??族F形入口直徑;
β——??族F形入口角;
R——反擴孔深度(泄壓孔);
B——反擴孔直徑(泄壓孔);
φ——正鉸孔過渡角;
F——正鉸孔深度;
I——正鉸孔直徑;
L/d——長度孔徑比(壓縮比)。
?
? ? 制粒機模具的孔形:常用的孔形主要有直孔、反臺階孔、外錐鉸孔和帶錐體的正向過渡臺階孔。直孔加工簡單,使用最普遍;倒臺階孔和外錐孔減少了??椎挠行чL度和物料在??變鹊臄D出時間,適用于加工直徑小于φ10mm的顆粒。圓錐形正擴孔階梯孔適用于加工直徑大于φ10mm粗纖維含量高的顆粒飼料。除上述4種孔形外,還有外錐形孔、內錐形孔和非圓孔等多種孔形,但使用并不普遍。
? ? 制粒機模具厚度(T):環模厚度直接影響環模的強度、硬度和制粒效率、質量。國際上,環模的厚度(T)通常選用32~127mm(我國最小厚度已為13mm)。
? ? 制粒機??子行чL度(L):環??子行чL度是指用于物料擠壓(成型)的??组L度。??子行чL度越長,物料在??字械臄D壓時間越長,制成的顆粒越硬,強度和顆粒質量越好。反之,顆粒松散,粉碎率高,顆粒質量下降。
? ? ??族F形入口直徑(D):進料孔直徑應大于??字睆剑╠),以減小物料進入孔內的阻力,以利于進入進入模具孔。進料孔的基本形式有直孔、錐孔和彎孔三種。對于纖維含量高的原料,由于造粒特性的差異,需要在加工過程中減小通過??椎淖枇?。制粒。為此,??讘O計成進料擠出段L和減壓排出段R兩段,即L+R=T。減壓排放孔有直孔、錐孔和錐孔與直孔組合三種基本形式,
